材料特性
   O-RING概述与设计  
   O-RING产品系列
   台湾DZ系列
   德国德氏封系列
 孔用密封
 轴用密封
 U型/Y型圈
 导向环
 防尘圈
 旋转密封圈
 组合密封垫圈
   NOK密封件系列
    D-A-S组合密封圈系列
   台湾NAK骨架油封系列
albb 
DZ 
上一个   下一个
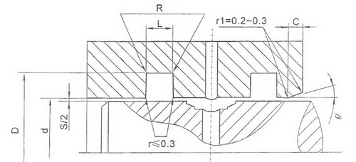
轴用旋转四氟组合油封
概况:
    现代工业中,特别是民用领域工程机械、建筑机械及汽车设备工业等都存在旋转式的液压传动,基于此,一种高压的旋转密封圈应运而生。高压旋转密封圈应用于旋转或摆动运动的杆、轴、旋转接头等处。它是一种可承受双向压力或交变压力作用的密封圈。
   WDI32型旋转密封圈为安装在轴上的活塞杆用密封圈。
说  明:
  高压旋转密封圈是由一个变性的PTEE材料带有一个或两个环形沟槽的密封环和一个0形圈组合而成,O形圈在此作为弹性施力元件,使硬圈紧贴滑动表面。
  密封环内孔密封口的专门设计以适应高压和低速的工况,在密封面上一个或两个环形沟槽可提高密封表面的比压,所以也提高了密封效果,沟槽形成的润滑油腔,又降低了摩擦力,由此具有良好的运转性。
优点:
  1.启动阻力小,无爬行现象,确保运动的平稳性。
  2.摩擦力小。
 3.抗磨性及尺寸稳定性很好。
 4.沟槽结构简单,尺寸较小。
 5.外周的润滑腔降低了摩擦力。
  6.尺寸系列广。
 
技术数据:
                 压力:30Mpa
                 温度:-30℃~+120 ℃(O环为NBR)
                             -20℃~+220℃(O环为VIT)
                  园周速度:5m/s
版权所有:宁波欧科密封科技有限公司   电话:0574-87668699   传真:0574-87668599  E-mail: nboukmf @163.com